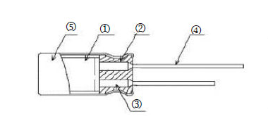
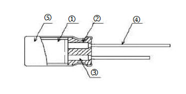
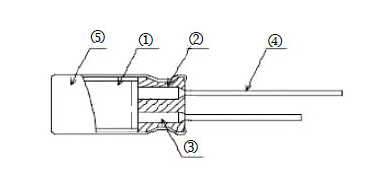
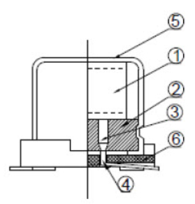
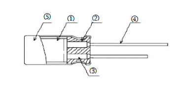
三面双面铝基板的功能分别为:第一层用于电路(导电)。第二层是关键。
它起到将LED产生的热量快速传递到铝板的作用。有必要知道绝热材料的耐热性。
第三层的功能是将来自导热绝缘材料的热量再次传递到灯杯。还有一个安装角色。
所以每个人都非常清楚如何更好地加热灯杯,因为每个人都知道灯杯的散热特性。不再关注铝基板,也没有更多的了解。
其他人认为铝基板的更好的导热性与铝板的厚度有关。事实并非如此。
为了提高铝基板的导热性,最重要的是提高隔热材料的性能。导热绝缘材料的热阻降低。
降低绝缘材料的热阻并不是一件简单的事情。他受到材料成分和制造工艺的影响。
公司: 深圳市捷比信实业有限公司
电话: 0755-29796190
邮箱: momo@jepsun.com
产品经理: 聂经理
QQ: 2215069954
地址: 深圳市宝安区翻身路富源大厦1栋7楼

更多资讯
获取最新公司新闻和行业资料。
- 光颉viking厚膜大功率贴片电阻器(氮化铝基板)性能解析与应用优势 光颉viking厚膜大功率贴片电阻器(氮化铝基板)技术亮点光颉viking CRP系列厚膜大功率贴片电阻器采用先进的氮化铝(AlN)基板材料,具备卓越的热导率和电气绝缘性能,广泛应用于高功率密度电子设备中。1. 氮化铝基板的核心优...
- 光颉Viking CRP系列厚膜大功率贴片电阻器:氮化铝基板技术解析与应用优势 光颉Viking CRP系列厚膜大功率贴片电阻器:氮化铝基板技术解析在现代电子设备向高集成度、小型化和高可靠性发展的趋势下,功率电阻器的性能要求日益严苛。光颉Viking推出的CRP系列厚膜大功率贴片电阻器,采用先进的氮化铝(...
- 跷板开关与双键开关的功能及应用 跷板开关和双键开关是两种常见的家庭电器控制设备。跷板开关因其操作方式得名,用户只需轻轻一按或一推,即可实现电路的通断。这种类型的开关设计简单直观,适合安装在家庭、办公室等场所。而双键开关则是一种能够控...
- DisplayPort 切换器全面解析:从基础功能到高级应用 DisplayPort 切换器全面解析:从基础功能到高级应用在数字化工作流日益复杂的今天,DisplayPort 切换器 已不再只是简单的信号中转设备,而是成为多屏协同、高效办公的重要基础设施。本文将深入探讨其核心技术、实际优势及前沿...
- AVEA系列铝固体电解电容器:面向未来电子系统的可靠之选 AVEA系列铝固体电解电容器技术亮点AVEA系列是新一代铝固体电解电容器的代表产品,融合了先进的材料科学与精密制造工艺,旨在满足现代电子设备对高效率、高稳定性和高可靠性的多重需求。该系列特别适用于需要长期稳定运行...
- 电容器两极板间加金属板 在电容器中,两极板之间加上金属板可以提高电容器的等效串联电阻(RCE),这会降低电容器的电容量。通常情况下,金属板的作用是提高电容器的耐压水平,并增加电容器的等效串联电阻。当电容器两极板之间加上金属板时,...
- 电容器加金属板和绝缘板 在一个电容器中,金属板和绝缘板的作用是不同的。金属板:金属板是电容器中的一个导体,它允许电流通过。当电流通过金属板时,会在金属板上产生电压降,这反过来又会在金属板上产生电流。这种电流称为局部电流,它在...
- 铝电解电容器用腐蚀化成铝箔 摘要:铝箔腐蚀和化成是制备铝电容器的一个重要过程,由超纯铝箔经过电化学刻蚀制得腐蚀箔,腐蚀箔经过阳极氧化最终得到化成箔。本文从制备工艺的角度对铝箔化成进行了综述,并对腐蚀扩孔、多级化成、复合箔制备...
- 铝电解电容器用铝箔发展趋势 在电解电容器家族中,铝电解电容器以其优越的性能、低廉的价格和广泛的用途,在过去的20年里在世界范围内得到了很大的发展。以日本为例。 1995年电解电容器用铝箔产量约3000吨。到2001年,产量已达到7万吨至8万吨,几乎以惊...
- 铝电解电容器铝箔开片长度怎么计算 随着社会的快速发展,我国铝电解电容也在快速发展。你知道铝电解电容的详细分析吗?接下来让小编带领大家了解更多相关知识。铝电解电容器是大多数电气设计的重要组成部分,因此正确选择它们是许多成功设计的关键。因...
- 双通道USB切换器选购指南:性能与实用性的全面对比 如何挑选适合你的双通道USB切换器?面对市场上琳琅满目的双通道USB切换器产品,消费者往往面临选择困难。以下从性能、兼容性、扩展性等方面进行深度分析,助你做出明智决策。1. 接口类型与版本识别首先需确认切换器是否...
- 双极晶体管基极电阻计算详解:原理与实际应用 双极晶体管基极电阻计算的重要性在模拟电路设计中,双极晶体管(BJT)是核心元件之一。正确设置基极电阻(R_B)对于确保晶体管工作在预期状态至关重要。若基极电阻选择不当,可能导致晶体管饱和或截止,影响整个电路的...
- 深入解析双极晶体管电路中的基极电阻设计方法 双极晶体管基极电阻设计的系统化流程在数字逻辑电路和开关应用中,双极晶体管常作为开关使用。此时,基极电阻的设计直接关系到晶体管能否快速、可靠地进入饱和状态。1. 饱和条件下的基极电流要求为了使晶体管完全饱和...
- 铝合金电阻:铝的电阻率 这是一年一度的家庭露营旅行,其中一个手电筒电池有轻微泄漏。您决定与其将其扔进树林中,不如将其包裹起来并帮助防止潜在的火灾。你拿一些铝箔把电池包起来,这样就可以堵住漏水的地方,保护大自然的壮丽。但是,您...
- 从基础到进阶:深入理解双极晶体管与高压晶体管的设计要点 双极晶体管设计的关键参数解析在设计基于双极晶体管的电路时,必须关注多个关键电气参数,以确保系统稳定性和可靠性。核心参数说明电流增益(β或hFE):反映基极电流对集电极电流的控制能力,理想值应大于100,但受温度...
- 双通道USB切换器与单通道USB切换器的全面对比:如何选择适合你的设备? 双通道USB切换器与单通道USB切换器的核心区别在现代办公和家庭使用场景中,USB切换器已成为提升多设备管理效率的重要工具。根据支持的设备数量,主要分为双通道和单通道两类。它们在功能、适用场景和性价比方面各有优劣...
- 液体铝电解电容器和固体铝电解电容器寿命计算公式 液体电解电容器:寿命取决于电解液干燥L = l0 × 2液体电解电容器l0 = 105℃时的使用寿命;以下是液体电解电容器的寿命计算方法:当温度为10 ℃时,电容器的使用寿命延长一倍。105 ℃ 1000小时使用寿命的电容器在85 ℃下...
- 2.4G/WiFi/蓝牙双极天线与蓝牙5.2双模芯片:智能设备通信新引擎 引言:无线连接技术的演进随着物联网(IoT)和智能终端设备的普及,对高效、稳定、低功耗的无线通信方案需求日益增长。2.4G/WiFi/蓝牙双极天线配合蓝牙5.2与Wi-Fi双模芯片,正成为新一代智能设备的核心通信组件。一、双极天...
- 双极晶体管与双极型晶体管:技术特性对比与应用解析 双极晶体管与双极型晶体管:概念辨析在电子工程领域,‘双极晶体管’与‘双极型晶体管’这两个术语经常被交替使用,但它们在实际应用中是否完全等同?本文将从定义、结构、工作原理和应用场景等方面进行深入分析。1. ...
- 铝壳电阻的作用 铝壳电阻的作用:1、分流和限流当铝壳电阻器与某个器件并联时,它可以有效地分流从而减少元件上的电流。在实践中,铝壳电阻器的并联电路通常用于形成分流电路,以分配电路中的电流。2、分压作用当铝壳电阻器与某个器件...